390619外球面轴承、390620外球面轴承、390621外球面轴承、390622外球面轴承
 |
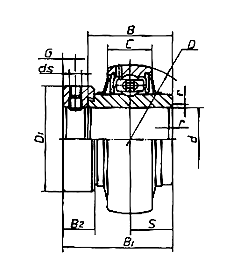
说明:
能承受较大的径、轴向的联合负荷,使用于有振动,冲击负荷的场合,偏心套的旋进方向应和轴的转动方向一致。 |
| |
| 轴承代号 |
外形尺寸(mm) |
重量(Kg) |
额定 动负荷Cr(KN) |
额定 静负荷Cor(KN) |
极限 转速(r/min) |
配用偏心套代号 |
| 新代号 |
旧代号 |
d |
D |
B1 |
B |
B2 |
S |
C |
rmin |
D1 |
G |
ds |
新代号 |
旧代号 |
| UEL305 |
390605 |
25 |
62 |
46.8 |
34.9 |
15.9 |
16.7 |
21 |
1.1 |
42 |
6 |
M6×1 |
0.43 |
17.22 |
11.39 |
2800 |
E305 |
P605 |
| UEL306 |
390606 |
30 |
72 |
50 |
36.5 |
17.5 |
17.5 |
23 |
1.1 |
49 |
6.5 |
M8×1 |
0.69 |
20.77 |
14.17 |
2600 |
E306 |
P606 |
| UEL307 |
390607 |
35 |
80 |
51.6 |
38.1 |
17.5 |
18.3 |
25 |
1.5 |
55 |
6.5 |
M8×1 |
0.80 |
20.66 |
17.92 |
2200 |
E307 |
P607 |
| UEL308 |
390608 |
40 |
90 |
57.1 |
41.5 |
20.6 |
19.8 |
27 |
1.5 |
63.5 |
8.0 |
M10×1 |
1.08 |
31.35 |
22.38 |
2000 |
E308 |
P608 |
| UEL309 |
390609 |
45 |
100 |
58.7 |
43.1 |
20.6 |
19.8 |
30 |
1.5 |
70 |
8.0 |
M10×1 |
1.45 |
40.66 |
30.00 |
1800 |
E309 |
P609 |
| UEL310 |
390610 |
50 |
110 |
66.6 |
49.4 |
22.2 |
24.6 |
32 |
2.0 |
76 |
9.0 |
M12×1.25 |
1.86 |
47.58 |
35.71 |
1700 |
E310 |
P610 |
| UEL311 |
390611 |
55 |
120 |
73 |
55.8 |
22.2 |
27.8 |
34 |
2.0 |
82 |
9.0 |
M12×1.25 |
2.34 |
55.05 |
41.91 |
1400 |
E311 |
P611 |
| UEL312 |
390612 |
60 |
130 |
79.4 |
61.5 |
23.9 |
30.95 |
36 |
2.1 |
88 |
9.0 |
M12×1.25 |
2.94 |
62.88 |
48.60 |
1300 |
E312 |
P612 |
| UEL313 |
390613 |
65 |
140 |
85.7 |
64.7 |
27 |
32.55 |
38 |
2.1 |
95 |
10.0 |
M12×1.25 |
3.67 |
72.21 |
56.68 |
1200 |
E313 |
P613 |
| UEL314 |
390614 |
70 |
150 |
92.1 |
67.9 |
30.2 |
34.15 |
40 |
2.1 |
102 |
12.5 |
M12×1.25 |
4.40 |
80.10 |
63.48 |
1100 |
E314 |
P614 |
| UEL315 |
390615 |
75 |
160 |
100 |
74.2 |
31.8 |
37.3 |
42 |
2.1 |
110 |
12.5 |
M12×1.25 |
5.34 |
87.25 |
71.67 |
1000 |
E315 |
P615 |
| UEL316 |
390616 |
80 |
170 |
106.4 |
80.6 |
31.8 |
40.5 |
44 |
2.1 |
117 |
12.5 |
M16×1.5 |
6.70 |
94.57 |
80.35 |
1000 |
E316 |
P616 |
| UEL317 |
390617 |
85 |
180 |
109.5 |
83.7 |
31.8 |
42.05 |
46 |
3.0 |
126 |
12.5 |
M16×1.5 |
8.00 |
102.05 |
89.52 |
950 |
E317 |
P617 |
| UEL318 |
390618 |
90 |
190 |
115.9 |
87.4 |
36.5 |
43.65 |
48 |
3.0 |
133 |
14.0 |
M16×1.5 |
9.10 |
110.81 |
100.76 |
900 |
E318 |
P618 |
| UEL319 |
390619 |
95 |
200 |
122.3 |
93.8 |
36.5 |
38.9 |
50 |
3.0 |
140 |
14.0 |
M16×1.5 |
10.40 |
120.51 |
113.75 |
850 |
E319 |
P619 |
| UEL320 |
390620 |
100 |
215 |
128.6 |
100.1 |
36.5 |
50 |
54 |
3.0 |
146 |
14.0 |
M16×1.5 |
13.00 |
133.06 |
131.18 |
800 |
E320 |
P620 |
| UEL321 |
390621 |
105 |
225 |
139.7 |
104.8 |
42.8 |
48.4 |
56 |
3.0 |
157 |
16.0 |
M20×1.5 |
14.60 |
141.30 |
142.84 |
750 |
E321 |
P621 |
| UEL322 |
390622 |
110 |
240 |
142 |
110 |
40 |
55 |
60 |
3.0 |
160 |
16.0 |
M20×1.5 |
17.20 |
157.66 |
167.64 |
700 |
E322 |
P622 |
|