南京轴承厂 南京轴承有限公司 南京哈宁轴承制造有限公司 南京工艺装备制造有限公司
设为首页 加入收藏夹 联系我们
电话:025-52217447、86629730 QQ:349831866
图文传真:025-52300551 联系人:刘长岭 13801591302
首页 | 产品大全 | 贸易知识 | 技术知识 | 轴承知识 | 行业新闻 | 国内新闻 | 哈宁新闻 | 样本下载 | 轴承样本 | 现货信息 | 供应信息 | 价格信息 | 营业执照 | 企业商标 | 汇款资料 | 产品介绍 | 联系我们 | 价格表 | 微薄 |
搜索:

销售电话:138 0159 1302

您现在的位置是:首页 --->贸易知识
390503外球面轴承、390504外球面轴承、390505外球面轴承、390506外球面轴承
说明:

    1、由于偏心套的紧固力较顶丝大,所以与同一内径尺寸带顶丝型外球而球轴承相比能承受较多大轴向负荷,适用于振动、冲击负荷的部位,例如农机上用的较多,偏心套旋紧方向应和轴的转动方向一致。

     2、表中UC201-UC203为日本ASAHI公司的代号,外形尺寸与国标《GB/T3882》中UEL201-UEL203是一致的。

 
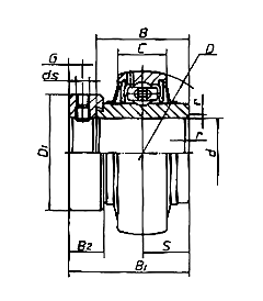
轴承代号 外形尺寸(mm) 重量(Kg)  额定  动负荷Cr(KN)  额定  静负荷Cor(KN)  极限  转速(r/min) 配用偏心套代号
新代号 旧代号 d D B1 B B2 S C rmin D1 G ds 新代号 旧代号
UG201 390501 12 40 37.3 27.8 13.5 13.9 15 0.6 28.6 4.8 M6×1 0.26 7.36 4.48 4500 E201 P501
UG202 390502 15 40 37.3 27.8 13.5 13.9 15 0.6 28.6 4.8 M6×1 0.23 7.36 4.48 4500 E202 P502
UG203 390503 17 40 37.3 27.8 13.5 13.9 15 0.6 28.6 4.8 M6×1 0.21 7.36 4.48 4500 E203 P503
UEL204 390504 20 47 43.7 34.2 13.5 17.1 17 1.0 33.3 4.8 M6×1 0.18 9.88 6.20 4000 E204 P504
UEL205 390505 25 52 44.4 34.9 13.5 17.5 17 1.0 38.1 4.8 M6×1 0.25 10.78 6.98 3400 E205 P505
UEL206 390506 30 62 48.4 36.5 15.9 18.3 19 1.0 44.5 6.0 M6×1 0.40 14.97 10.04 2800 E206 P506
UEL207 390507 35 72 51.1 37.6 17.5 18.8 20 1.1 55.6 6.8 M8×1 0.61 19.75 13.67 2400 E207 P507
UEL208 390508 40 80 56.3 42.8 18.3 21.4 21 1.1 60.3 6.8 M8×1 0.75 22.71 15.94 2200 E208 P508
UEL209 390509 45 85 56.3 42.8 18.3 21.4 22 1.1 63.5 6.8 M8×1 0.81 24.36 17.71 1900 E209 P509
UEL210 390510 50 90 62.7 49.2 18.3 24.6 24 1.1 69.9 7.0 M10×1 0.98 26.98 19.84 1800 E210 P510
UEL211 390511 55 100 71.4 55.5 20.7 27.8 25 1.5 76.2 7.0 M10×1 1.30 33.37 25.11 1600 E211 P511
UEL212 390512 60 110 77.8 61.9 22.3 31.0 27 1.5 84.2 8.0 M10×1 1.78 36.74 27.97 1500 E212 P512
UEL213 390513 65 120 85.7 69.2 23.5 34.1 27 1.5 90.0 8.5 M12×1.25 2.48 44.01 34.18 1400 E213 P513
UEL214 390514 70 125 85.7 69.2 23.5 34.1 29 1.5 95.0 8.5 M12×1.25 2.50 46.79 37.59 1300 E214 P514
UEL215 390515 75 130 92.1 76.6 23.5 37.3 30 1.5 104.0 8.5 M12×1.25 2.86 50.85 41.26 1200 E215 P515
UEL216 390516 80 140 92.0 70.0 30.0 33.3 33 2.0 110 11.0 M12×1.25 3.30 55.04 45.09 1100 E216 P516
关于我们 - 设为首页 - 加入收藏 - 营业执照 - 企业商标 - 汇款资料 - 产品介绍 - 联系我们 - 友情连接 - 企业库 - VIP会员
单位汇款资料:南京哈宁轴承制造有限公司 开户行及帐号:工行朝天宫分理处4301021409100005958
个人汇款资料:中国农业银行南京白下分行 6228460390011617510 刘长岭 苏ICP备16004265号-1